- Описание — ЯУО 9600
- Список устройств
- ЯУО 9604
ЯУО 9604
| Тип и исполнение | Ном. ток А | Ном.ток автом. выключ. А | Диапазон теплового реле А | Напряжение цепи управления В | Габаритные размеры щита |
|---|---|---|---|---|---|
| ЯУО 9604-3474 | 25 | 31,5 | 18,0-25,0 | ~220В | 1800х1000х300 |
| ЯУО 9604-3574 | 32 | 40 | 27,2-36,8 | 1800х1000х300 | |
| ЯУО 9604-3674 | 40 | 50 | 34,0-40,0 | 1800х1000х300 | |
| ЯУО 9604-3774 | 50 | 63 | 42,5-57,5 | 1800х1000х300 | |
| ЯУО 9604-3874 | 63 | 80 | 68,0-92,0 | 1800х1000х300 | |
| ЯУО 9604-3974 | 80 | 100 | 85,0-100,0 | 1800х1000х300 | |
| ЯУО 9604-4074 | 100 | 125 | 106,0-143,0 | 1800х1000х300 | |
| ЯУО 9604-4174 | 125 | 160 | 136,0-160,0 | 1800х1000х300 | |
| ЯУО 9604-4274 | 160 | 200 | 136,0-160,0 | 1800х1000х300 |
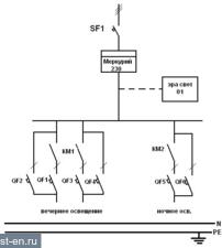
Ящик управления освещением ЯУО 9604 с дистанционным управлением освещением по каналу GSM имеет ряд преимуществ:
- Управление осуществляется по каналу радиосвязи, что не требует дополнительных затрат на прокладку кабеля к диспетчерскому пульту.
- Управление осуществляется дистанционно всеми исполнительными пунктами.
- Контроль работоспособности и исправности отходящий линий.
- Контроль и учёт потребляемой электроэнергии, с учётом тарифного расписания.
- При нарушении обмена по каналу GPRS контроллер переключается на SMS канал, а при нарушении и SMS канала переходит на работу по SMS каналу с другим сотовым оператором.
- Ящик управления ЯУО 9604 имеет защиту от несанкционированного доступа сторонних лиц, и посылает сигнал на диспетчерский пульт в случае открытия ящика.
- Ящик управления ЯОУ 9604 в случае неработоспособности системы управления имеет возможность переключения на местное (ручное) управление освещением.
